Уважаемый клиент! Цены на сайте в процессе обновления. Уточняйте актуальную цену у менеджера в магазине.
Вологда
On-line каталоги
Оригинальные запчасти
| № | Артикул | НАИМЕНОВАНИЕ | Кол-во деталей в узле | Примечание | Наличие | Цена | Аналоги | Фото | |
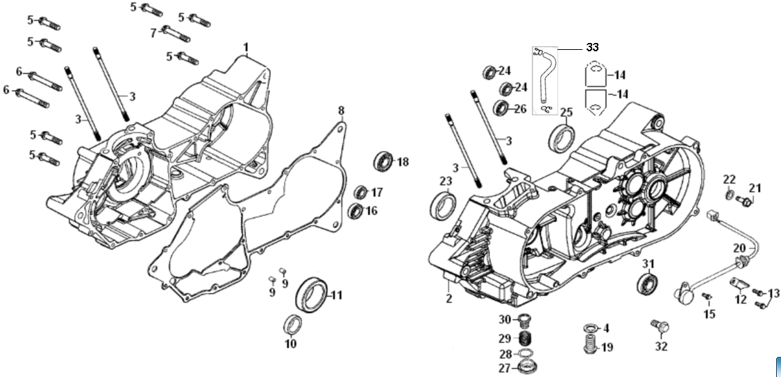
| 1 | 110080082-0001 |
Картер двигателя правый 1P75CVT-PRO
В наличии |
1
1
|
В наличии |
10 200 ₽ |
Купить | |||
| 2 | 110030140-0001 |
Картер двигателя левый 1P75CVT-PRO
В наличии |
1
1
|
В наличии |
14 280 ₽ |
Купить | |||
| 3 | 110240046-0001 |
Шпилька ЦПГ M8×222 1P75CVT-PRO
В наличии |
4
4
|
В наличии |
380 ₽ |
Купить | |||
| 4 | 380450018-0003 |
Шайба сливного болта 12х20х2 мм 1P75CVT-PRO
В наличии |
1
1
|
В наличии |
230 ₽ |
|
Купить | ||
| 5 | 380140019-0006 |
Болт M6_L=40 1P75CVT-PRO
Под заказ |
7
7
|
Под заказ |
Купить | ||||
| 6 | 380140128-0002 |
Болт M6_L=45 1P75CVT-PRO
Под заказ |
1
1
|
Под заказ |
Купить | ||||
| 7 | 110100030-0001 |
GASKET, CRANKCASE
Под заказ |
1
1
|
Под заказ |
Купить | ||||
| 8 | 380650007-0001 |
Сальник 14х28х7 1P75CVT-PRO
В наличии |
1
1
|
В наличии |
230 ₽ |
Купить | |||
| 9 | 380600006-0001 |
Установочная втулка D10x16 мм 1P75CVT-PRO
Под заказ |
1
1
|
Под заказ |
Купить | ||||
| 10 | 380650268-0001 |
Сальник 30х40х7 1P75CVT-PRO
В наличии |
1
1
|
В наличии |
380 ₽ |
Купить | |||
| 11 | 270740004-0001 |
Пластина крепления датчика скорости 1P75CVT-PRO
В наличии |
1
1
|
В наличии |
220 ₽ |
Купить | |||
| 12 | 380140026-0006 |
Болт M6_L=12 1P75CVT-PRO
Под заказ |
2
2
|
Под заказ |
Купить | ||||
| 13 | 191380007-0001 |
BEARING BAFFLE,MAINSHAFT
Под заказ |
2
2
|
Под заказ |
Купить | ||||
| 14 | 380140011-0001 |
Болт M6_L=10 1P75CVT-PRO
Под заказ |
1
1
|
Под заказ |
Купить | ||||
| 15 | 380630017-0001 |
BEARING
Под заказ |
1
1
|
Под заказ |
Купить | ||||
| 16 | 380630145-0001 |
BEARING
Под заказ |
1
1
|
Под заказ |
Купить | ||||
| 17 | 380140021-0006 |
Болт M6_L=22 1P75CVT-PRO
Под заказ |
2
2
|
Под заказ |
Купить | ||||
| 18 | 380140112-0002 |
Болт M12×1.5_L=15 1P75CVT-PRO
В наличии |
1
1
|
В наличии |
230 ₽ |
Купить | |||
| 19 | 270650056-0001 |
INDICATOR, GEAR
Под заказ |
1
1
|
Под заказ |
Купить | ||||
| 20 | 380140069-0001 |
Болт M8_L=12 1P75CVT-PRO
Под заказ |
1
1
|
Под заказ |
Купить | ||||
| 21 | 380450354-0001 |
Шайба сливной пробки 8х16х2 1P75CVT-PRO
Под заказ |
1
1
|
Под заказ |
Купить | ||||
| 22 | 380650266-0001 |
Сальник 22х34х6 1P75CVT-PRO
В наличии |
1
1
|
В наличии |
340 ₽ |
Купить | |||
| 23 | 380630002-0001 |
BEARING
Под заказ |
2
2
|
Под заказ |
Купить | ||||
| 24 | 380650267-0001 |
Сальник 20х32х6 1P75CVT-PRO
В наличии |
1
1
|
В наличии |
380 ₽ |
Купить | |||
| 25 | 380630099-0001 |
Подшипник 6202 1P75CVT-PRO
В наличии |
1
1
|
В наличии |
380 ₽ |
Купить | |||
| 26 | 120280003-0002 |
Крышка масляного фильтра с сеткой 1P75CVT-PRO
В наличии |
1
1
|
В наличии |
340 ₽ |
|
Купить | ||
| 27 | 380840132-0001 |
Кольцо, прокладка пробки маслоприёмника 30х3 1P75CVT-PRO
В наличии |
1
1
|
В наличии |
230 ₽ |
|
Купить | ||
| 28 | 381150252-0001 |
Пружина фильтра маслозаборника 1P75CVT-PRO
Под заказ |
1
1
|
Под заказ |
Купить | ||||
| 29 | 150290001-0001 |
Фильтр масляный сетчатый 1P75CVT-PRO
В наличии |
1
1
|
В наличии |
340 ₽ |
|
Купить | ||
| 30 | 380630453-0001 |
BEARING
Под заказ |
1
1
|
Под заказ |
Купить | ||||
| 31 | 380140208-0002 |
Болт M10×1.25_L=12 1P75CVT-PRO
Под заказ |
1
1
|
Под заказ |
Купить | ||||
| 32 | 380750497-0001 |
Топливный шланг 1P75CVT-PRO
Под заказ |
1
1
|
Под заказ |
Купить | ||||
| 33 | 380750497-0002 |
TUBE,FUEL OIL
Под заказ |
1
1
|
Под заказ |
Купить | ||||
| 34 | 500270146-0002 |
Комплект прокладок картера 1P75CVT-PRO
Под заказ |
1
1
|
Под заказ |
Купить |
Нулевая цена не означает отсутствие товара. Оформите заказ, и менеджер сообщит вам цену и наличие товара, предварительно запросив их у поставщика